服務熱線
180-5003-0233

本實用新型涉及一種切割設備,特別是針對一種具有切刀加熱功能的花季视频下载黄色。
背景技術:
塑料片材在生產完成後往往需要進行分切加工,對於一些硬度和脆性較高的塑料片材往往通過圓盤鋸刀進行分切,鋸刀切割時噪音大,鋸屑飛濺,影響環境,切割效率低,難於滿足生產計劃要求;而且還會產生的大量粉塵,因此往往需要另外配備吸塵除塵設備,不僅增加了設備的投入,還浪費大量能源,增加成本,不符合節能減排的要求。還更為嚴重的問題是,切割時形成的切口往往會粗糙不平,影響產品質量和外觀,切割後還需要進行額外的修整,費時費力。
技術實現要素:
為了克服現有技術的不足,本實用新型提供了一種綠色環保、低成本、切割時切口光亮平整的具有切刀加熱功能的花季视频下载黄色。
本實用新型解決其技術問題所采用的技術方案是:
一種具有切刀加熱功能的花季视频下载黄色,包括有機架、安裝在所述機架下方的電機、安裝在所述機架上的下分切輥,設置在所述下分切輥上方的上分切輥,所述下分切輥可在所述電機的驅動下轉動,所述上分切輥包括有中心轉軸和切刀座,所述中心轉軸的兩端轉動連接在所述機架上,所述切刀座包括有套裝所述中心轉軸上的套筒和固定連接在所述套筒外側的圓盤切刀,所述圓盤切刀與所述套筒之間形成有密閉環形腔,所述密閉環形腔內安裝電熱絲,所述電熱絲與所述密閉環形腔的內壁之間通過填充的絕緣花季黄大片大全相互隔離,所述電熱絲的兩端分別連接在兩個金屬連接片上,所述套筒上開設有兩個連通所述密閉環形腔的通孔,兩個所述金屬連接片分別從兩個所述通孔伸出後與安裝在所述中心轉軸內部的兩個電極板導電連通,所述電極板與電源的兩極導通。
作為上述技術方案的改進,兩個所述金屬連接片將所述密閉環形腔分隔成兩個半圓環,所述電熱絲有兩條且分別位於兩個所述半圓環內。
進一步,所述金屬連接片外部包覆有絕緣套,所述金屬連接片與所述電熱絲和電極板接觸的部位露出在所述絕緣套外部。
進一步,所述中心轉軸為空心管狀結構且管壁上開設有兩條平行於所述中心轉軸軸線的滑動槽,所述中心轉軸的內部安裝有一根絕緣杆,所述絕緣杆正對兩條所述滑動槽的位置開設有兩條布線槽,兩個所述電極板分別布設在兩個所述布線槽內,所述金屬連接片穿過所述滑動槽後伸入到所述布線槽內與所述電極板接觸導通。
進一步,所述機架的左上方和右上方各設置有一個軸孔,所述中心轉軸的兩端分別轉動安裝在所述軸孔內,左側的所述軸孔的孔底設置有兩個金屬觸點,兩個所述金屬觸點分別與電源的兩極導通,其中一個所述金屬觸點位於所述軸孔孔底中心,所述絕緣杆左端麵上嵌裝有圓形金屬片和環形金屬片,所述圓形金屬片和環形金屬片分別與兩塊所述電極板導電連通,所述圓形金屬片位於所述絕緣杆左端麵中心,所述環形金屬片圍繞在所述圓形金屬片外部且與所述圓形金屬片同心,位於所述軸孔孔底中心位置的所述金屬觸點與所述圓形金屬片相互接觸導通,另一個所述金屬觸點與所述環形金屬片接觸導通。
與現有技術相比,本實用新型的有益效果是:本實用新型利用所述電熱絲的產生的熱量使所述切刀的刀刃區域迅速升溫,在切割塑料板材時由於所述刀刃區域處於高溫狀態,塑料板材受熱熔融變軟,因而易於切割;而且在切割時不會損傷片材結構,且切口平整光潔,具有更好的外觀質量;同時切割時也不會有碎屑粉塵產生,因而也就不需要另設除塵裝置,節約了能源,綠色環保。
附圖說明
下麵結合附圖和實施例對本實用新型進一步說明。
圖1是本實用新型正麵結構示意圖;
圖2是本實用新型中所述上分切輥切刀位置的徑向剖麵結構示意圖;
圖3是本實用新型中所述絕緣杆左端麵的結構示意圖;
圖4是本實用新型中所述軸孔的剖麵結構示意圖。
具體實施方式
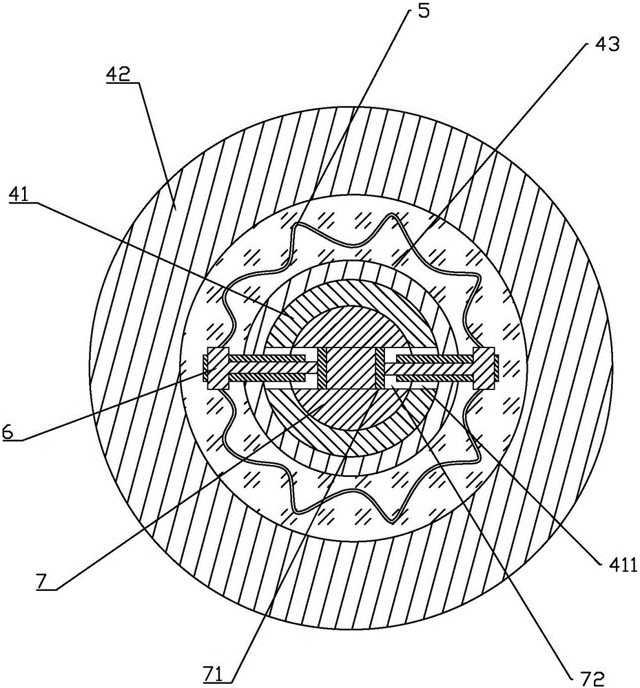
參照圖1,本實用新型的一種具有切刀加熱功能的花季视频下载黄色,包括有機架1、安裝在所述機架1下方的電機2、安裝在所述機架1上的下分切輥3,設置在所述下分切輥3上方的上分切輥4,所述下分切輥3可在所述電機2的驅動下轉動,所述上分切輥4包括有中心轉軸41和切刀座,所述中心轉軸41的兩端轉動連接在所述機架1上,所述切刀座包括有套裝所述中心轉軸41上的套筒43和固定連接在所述套筒43外側的圓盤切刀42,所述圓盤切刀42與所述套筒43之間形成有密閉環形腔,所述密閉環形腔內安裝電熱絲5,所述電熱絲5與所述密閉環形腔的內壁之間通過填充的絕緣花季黄大片大全相互隔離,所述電熱絲5的兩端分別連接在兩個金屬連接片6上,所述套筒43上開設有兩個連通所述密閉環形腔的通孔,兩個所述金屬連接片6分別從兩個所述通孔伸出後與安裝在所述中心轉軸41內部的兩個電極板71導電連通,所述電極板71與電源的兩極導通。本實用新型利用所述電熱絲5的產生的熱量使所述切刀42的刀刃區域迅速升溫,在切割塑料板材時由於上述刀刃區域處於高溫狀態,塑料板材受熱熔融變軟,因而易於切割;而且在切割時不會損傷板材結構,且切口平整光潔,具有更好的外觀質量;同時切割時也不會有碎屑和粉塵產生,因而也就不需要另設除塵裝置,節約了能源,綠色環保。
為了使所述切刀42的刀刃區域加熱升溫更加均勻,兩個所述金屬連接片6將所述密閉環形腔分隔成兩個半圓環,所述電熱絲5有兩條且分別位於兩個所述半圓環內。
為了防止所述金屬連接片6與所述中心轉軸41或套筒43接觸而引發漏電,所述金屬連接片6外部包覆有絕緣套,所述金屬連接片6與所述電熱絲5和電極板71接觸的部位露出在所述絕緣套外部。
所述中心轉軸41為空心管狀結構且管壁上開設有兩條平行於所述中心轉軸41軸線的滑動槽411,所述中心轉軸41的內部安裝有一根絕緣杆7,所述絕緣杆7正對兩條所述滑動槽411的位置開設有兩條布線槽72,兩個所述電極板71分別布設在兩個所述布線槽72內,所述金屬連接片6穿過所述滑動槽411後伸入到所述布線槽72內與所述電極板71接觸導通。上述結構可以使所述切刀座在所述中心轉軸41上滑動,以調整所述切刀42之間的距離,改變塑料板材的切割寬度。而且在調整中可以始終保持所述金屬連接片6與所述電極板71之間的接觸導通。
所述機架1的左上方和右上方各設置有一個軸孔11,所述中心轉軸41的兩端分別轉動安裝在所述軸孔11內,左側的所述軸孔11的孔底設置有兩個金屬觸點111,兩個所述金屬觸點111分別與電源的兩極導通,其中一個所述金屬觸點111位於所述軸孔11孔底中心,所述絕緣杆7左端麵上嵌裝有圓形金屬片73和環形金屬片74,所述圓形金屬片73和環形金屬片74分別與兩塊所述電極板71導電連通,所述圓形金屬片73位於所述絕緣杆7左端麵中心,所述環形金屬片74圍繞在所述圓形金屬片73外部且與所述圓形金屬片73同心,位於所述軸孔11孔底中心位置的所述金屬觸點111與所述圓形金屬片73相互接觸導通,另一個所述金屬觸點111與所述環形金屬片74接觸導通。上述結構可以在所述上分切輥4轉動時很好的實現兩個所述電極板71與電源兩極的導電連通,從而在切割作業時,使所述電熱絲5始終處於工作狀態,持續對所述切刀42進行加熱。
以上所述隻是本實用新型的較佳實施方式,但本實用新型並不限於上述實施例,隻要其以任何相同或相似手段達到本實用新型的技術效果,都應落入本實用新型的保護範圍之內。
技術特征:
1.一種具有切刀加熱功能的花季视频下载黄色,包括有機架(1)、安裝在所述機架(1)下方的電機(2)、安裝在所述機架(1)上的下分切輥(3),設置在所述下分切輥(3)上方的上分切輥(4),所述下分切輥(3)可在所述電機(2)的驅動下轉動,所述上分切輥(4)包括有中心轉軸(41)和切刀座,所述中心轉軸(41)的兩端轉動連接在所述機架(1)上,所述切刀座包括有套裝所述中心轉軸(41)上的套筒(43)和固定連接在所述套筒(43)外側的圓盤切刀(42),其特征在於:所述圓盤切刀(42)與所述套筒(43)之間形成有密閉環形腔,所述密閉環形腔內安裝電熱絲(5),所述電熱絲(5)與所述密閉環形腔的內壁之間通過填充的絕緣花季黄大片大全相互隔離,所述電熱絲(5)的兩端分別連接在兩個金屬連接片(6)上,所述套筒(43)上開設有兩個連通所述密閉環形腔的通孔,兩個所述金屬連接片(6)分別從兩個所述通孔伸出後與安裝在所述中心轉軸(41)內部的兩個電極板(71)導電連通,所述電極板(71)與電源的兩極導通。
2.根據權利要求1所述的一種具有切刀加熱功能的花季视频下载黄色,其特征在於:兩個所述金屬連接片(6)將所述密閉環形腔分隔成兩個半圓環,所述電熱絲(5)有兩條且分別位於兩個所述半圓環內。
3.根據權利要求1-2任一所述的一種具有切刀加熱功能的花季视频下载黄色,其特征在於:所述金屬連接片(6)外部包覆有絕緣套,所述金屬連接片(6)與所述電熱絲(5)和電極板(71)接觸的部位露出在所述絕緣套外部。
4.根據權利要求1-2任一所述的一種具有切刀加熱功能的花季视频下载黄色,其特征在於:所述中心轉軸(41)為空心管狀結構且管壁上開設有兩條平行於所述中心轉軸(41)軸線的滑動槽(411),所述中心轉軸(41)的內部安裝有一根絕緣杆(7),所述絕緣杆(7)正對兩條所述滑動槽(411)的位置開設有兩條布線槽(72),兩個所述電極板(71)分別布設在兩個所述布線槽(72)內,所述金屬連接片(6)穿過所述滑動槽(411)後伸入到所述布線槽(72)內與所述電極板(71)接觸導通。
5.根據權利要求4所述的一種具有切刀加熱功能的花季视频下载黄色,其特征在於:所述機架(1)的左上方和右上方各設置有一個軸孔(11),所述中心轉軸(41)的兩端分別轉動安裝在所述軸孔(11)內,左側的所述軸孔(11)的孔底設置有兩個金屬觸點(111),兩個所述金屬觸點(111)分別與電源的兩極導通,其中一個所述金屬觸點(111)位於所述軸孔(11)孔底中心,所述絕緣杆(7)左端麵上嵌裝有圓形金屬片(73)和環形金屬片(74),所述圓形金屬片(73)和環形金屬片(74)分別與兩塊所述電極板(71)導電連通,所述圓形金屬片(73)位於所述絕緣杆(7)左端麵中心,所述環形金屬片(74)圍繞在所述圓形金屬片(73)外部且與所述圓形金屬片(73)同心,位於所述軸孔(11)孔底中心位置的所述金屬觸點(111)與所述圓形金屬片(73)相互接觸導通,另一個所述金屬觸點(111)與所述環形金屬片(74)接觸導通。
技術總結
本實用新型公開了一種具有切刀加熱功能的花季视频下载黄色,包括有機架、電機、下分切輥、上分切輥,下分切輥可在電機的驅動下轉動,上分切輥包括有中心轉軸和切刀座,切刀座包括有套筒和圓盤切刀,圓盤切刀與套筒之間形成有密閉環形腔,密閉環形腔內安裝電熱絲,電熱絲與密閉環形腔的內壁之間通過填充的絕緣花季黄大片大全相互隔離,電熱絲的兩端分別連接在兩個金屬連接片上,套筒上開設有兩個連通密閉環形腔的通孔,兩個金屬連接片分別從兩個通孔伸出後與安裝在中心轉軸內部的兩個電極板導電連通,電極板與電源的兩極導通。本實用新型在切割硬度和脆性較高的塑料片材時,不會產生鋸屑和粉塵,綠色環保,而且切口光亮平整,外觀質量高。
技術研發人員:張沛
受保護的技術使用者:佛山市澧誠五金電器製品有限公司
文檔號碼:201720105974
技術研發日:2017.01.23
技術公布日:2017.12.05