花季传媒下载APP安装旧版,花季视频下载黄色,花季黄大片大全,花季传媒官方网站

    行業新聞

    當前位置:首頁/新聞中心/行業新聞

    一種避免膠帶分切過程中不平整的膠帶花季视频下载黄色裝置的製作方法

    2024年02月03日國知局瀏覽量:0

    一種避免膠帶分切過程中不平整的膠帶花季视频下载黄色裝置的製作方法

    1.本實用新型涉及膠帶分切技術領域,具體為一種避免膠帶分切過程中不平整的膠帶花季视频下载黄色裝置。

    背景技術:

    2.膠帶花季视频下载黄色是一種將寬幅膠帶母卷分切、複卷成多條窄幅粘膠帶卷的機械設備。

    3.現有的膠帶花季视频下载黄色在膠帶母卷使用完後,不易更換膠帶母卷。

    技術實現要素:

    4.本實用新型的目的在於提供一種避免膠帶分切過程中不平整的膠帶花季视频下载黄色裝置,以解決上述背景技術中提出的現有的膠帶花季视频下载黄色在膠帶母卷使用完後,不易更換膠帶母卷的問題。

    5.為實現上述目的,本實用新型提供如下技術方案:一種避免膠帶分切過程中不平整的膠帶花季视频下载黄色裝置,包括機體,所述機體上設置有出料輥、分切輥、第一收料輥和第二收料輥,所述機體左右兩側均設置有安裝座,所述安裝座包括安裝塊和固定塊,所述安裝塊與機體轉動連接,且左側或右側的所述安裝塊上連接有驅動電機,所述安裝塊上通過螺栓連接有固定塊,所述安裝塊和固定塊之間開設有固定孔,所述出料輥左右兩端均位於固定孔中,所述出料輥上安裝有膠帶母卷,所述膠帶母卷下側設置有升降板。

    6.優選的,所述升降板下側連接有電動液壓缸。

    7.優選的,所述固定塊內壁設置有限位塊。

    8.優選的,所述升降板上側設置有橡膠層。

    9.與現有技術相比,本實用新型的有益效果是:

    10.1)安裝膠帶母卷時,先將膠帶母卷裝在出料輥上,然後通過安裝座固定出料輥,將出料輥兩端擱置在安裝塊上,安裝上固定塊對出料輥進行固定,從而完成膠帶母卷的安裝,膠帶母卷的安裝和拆卸方便,便於進行更換;

    11.2)通過升降板的設置,安裝膠帶母卷時,可以先將膠帶母卷置於升降板上,然後安裝上出料輥並調節升降板的高度,使出料輥固定方便。

    附圖說明

    12.圖1為本實用新型結構示意圖;

    13.圖2為本實用新型安裝座剖視結構示意圖;

    14.圖3為本實用新型安裝座側視結構示意圖;

    15.圖4為本實用新型電動液壓缸配合升降板結構示意圖。

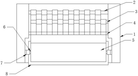
    16.圖中:1機體、2第一收料輥、3第二收料輥、4分切輥、5膠帶母卷、6出料輥、7安裝座、8升降板、9安裝塊、10固定塊、11限位塊、12固定孔、13電動液壓缸。

    具體實施方式

    17.下麵將結合本實用新型實施例中的附圖,對本實用新型實施例中的技術方案進行清楚、完整地描述,顯然,所描述的實施例僅僅是本實用新型一部分實施例,而不是全部的實施例。基於本實用新型中的實施例,本領域普通技術人員在沒有做出創造性勞動前提下所獲得的所有其他實施例,都屬於本實用新型保護的範圍。

    18.在本實用新型的描述中,需要說明的是,術語“上”、“下”、“內”、“外”、“頂/底端”等指示的方位或位置關係為基於附圖所示的方位或位置關係,僅是為了便於描述本實用新型和簡化描述,而不是指示或暗示所指的裝置或元件必須具有特定的方位、以特定的方位構造和操作,因此不能理解為對本實用新型的限製。此外,術語“第一”、“第二”僅用於描述目的,而不能理解為指示或暗示相對重要性。

    19.在本實用新型的描述中,需要說明的是,除非另有明確的規定和限定,術語“安裝”、“設置有”、“套設/接”、“連接”等,應做廣義理解,例如“連接”,可以是固定連接,也可以是可拆卸連接,或一體地連接;可以是機械連接,也可以是電連接;可以是直接相連,也可以通過中間媒介間接相連,可以是兩個元件內部的連通。對於本領域的普通技術人員而言,可以具體情況理解上述術語在本實用新型中的具體含義。

    20.實施例:

    21.請參閱圖1‑4,本實用新型提供一種技術方案:一種避免膠帶分切過程中不平整的膠帶花季视频下载黄色裝置,包括機體1,所述機體1上設置有出料輥6、分切輥4、第一收料輥2和第二收料輥3,所述機體1左右兩側均設置有安裝座7,所述安裝座7包括安裝塊9和固定塊10,所述安裝塊9與機體1轉動連接,且左側或右側的所述安裝塊9上連接有驅動電機,用於帶動安裝塊9轉動,所述安裝塊9上通過螺栓連接有固定塊10,所述安裝塊9和固定塊10之間開設有固定孔12,所述出料輥6左右兩端均位於固定孔12中,通過安裝座7帶動出料輥6轉動,所述出料輥6上安裝有膠帶母卷5,膠帶母卷5上的膠條通過分切輥4分切成多段,並通過第一收料輥2和第二收料輥3進行複卷,避免分切過程中產生不平整,所述膠帶母卷5下側設置有升降板8。

    22.所述升降板8下側連接有電動液壓缸13。

    23.所述固定塊10內壁設置有限位塊11,出料輥6上設置有與限位塊11相適配的限位槽,便於帶動出料輥6轉動。

    24.所述升降板8上側設置有橡膠層。

    25.工作原理:安裝膠帶母卷5時,先將膠帶母卷5裝在出料輥6上,然後通過安裝座7固定出料輥6,將出料輥6兩端擱置在安裝塊9上,安裝上固定塊10對出料輥6進行固定,從而完成膠帶母卷5的安裝,膠帶母卷5的安裝和拆卸方便,便於進行更換,通過升降板8的設置,安裝膠帶母卷5時,可以先將膠帶母卷5置於升降板8上,然後安裝上出料輥6並調節升降板8的高度,使出料輥6固定方便。

    26.以上顯示和描述了本實用新型的基本原理和主要特征和本實用新型的優點,對於本領域技術人員而言,顯然本實用新型不限於上述示範性實施例的細節,而且在不背離本實用新型的精神或基本特征的情況下,能夠以其他的具體形式實現本實用新型;因此,無論從哪一點來看,均應將實施例看作是示範性的,而且是非限製性的,本實用新型的範圍由所附權利要求而不是上述說明限定,因此旨在將落在權利要求的等同要件的含義和範圍內的

    所有變化囊括在本實用新型內,不應將權利要求中的任何附圖標記視為限製所涉及的權利要求。

    27.盡管已經示出和描述了本實用新型的實施例,對於本領域的普通技術人員而言,可以理解在不脫離本實用新型的原理和精神的情況下可以對這些實施例進行多種變化、修改、替換和變型,本實用新型的範圍由所附權利要求及其等同物限定。

    技術特征:

    1.一種避免膠帶分切過程中不平整的膠帶花季视频下载黄色裝置,包括機體(1),其特征在於:所述機體(1)上設置有出料輥(6)、分切輥(4)、第一收料輥(2)和第二收料輥(3),所述機體(1)左右兩側均設置有安裝座(7),所述安裝座(7)包括安裝塊(9)和固定塊(10),所述安裝塊(9)與機體(1)轉動連接,且左側或右側的所述安裝塊(9)上連接有驅動電機,所述安裝塊(9)上通過螺栓連接有固定塊(10),所述安裝塊(9)和固定塊(10)之間開設有固定孔(12),所述出料輥(6)左右兩端均位於固定孔(12)中,所述出料輥(6)上安裝有膠帶母卷(5),所述膠帶母卷(5)下側設置有升降板(8)。2.根據權利要求1所述的一種避免膠帶分切過程中不平整的膠帶花季视频下载黄色裝置,其特征在於:所述升降板(8)下側連接有電動液壓缸(13)。3.根據權利要求1所述的一種避免膠帶分切過程中不平整的膠帶花季视频下载黄色裝置,其特征在於:所述固定塊(10)內壁設置有限位塊(11)。4.根據權利要求1所述的一種避免膠帶分切過程中不平整的膠帶花季视频下载黄色裝置,其特征在於:所述升降板(8)上側設置有橡膠層。

    技術總結

    本實用新型公開的屬於膠帶分切技術領域,具體為一種避免膠帶分切過程中不平整的膠帶花季视频下载黄色裝置,包括機體,所述機體上設置有出料輥、分切輥、第一收料輥和第二收料輥,所述機體左右兩側均設置有安裝座,所述安裝座包括安裝塊和固定塊,所述安裝塊與機體轉動連接,且左側或右側的所述安裝塊上連接有驅動電機,所述安裝塊上通過螺栓連接有固定塊,所述安裝塊和固定塊之間開設有固定孔,所述出料輥左右兩端均位於固定孔中,安裝膠帶母卷時,先將膠帶母卷裝在出料輥上,然後通過安裝座固定出料輥,將出料輥兩端擱置在安裝塊上,安裝上固定塊對出料輥進行固定,從而完成膠帶母卷的安裝,膠帶母卷的安裝和拆卸方便,便於進行更換。便於進行更換。便於進行更換。

    技術研發人員:王峰

    受保護的技術使用者:昆山榮創膠粘製品有限公司

    技術研發日:2021.07.07

    技術公布日:2021/12/11

    網站地圖