服務熱線
180-5003-0233

本實用新型涉及,特指一種紙管改切裝置。
背景技術:
目前,傳統的紙管改切機需要人工來調整十分的不方便而且定位精度不高。市場上有兩種比較主流的機型是行星式紙管改切機或采用伺服定位的自動紙管改切機。這種主流設備可調整範圍大,操作方便。
便於調整紙管長度,確保紙管的長度。然而,這類設備體積均比較大,且結構複雜,設備成本高,不適用於中小型企業的小規模生產。
技術實現要素:
本實用新型的目的在於針對已有的技術現狀,提供一種紙管改切裝置,具有較為簡單的結構,實現紙管改切的自動調整功能,性價比高。
為達到上述目的,本實用新型采用如下技術方案:
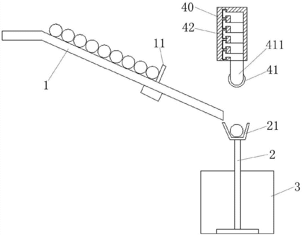
本實用新型為一種紙管改切裝置,主要包括紙管輸送架、紙管托架及切割組件,所述紙管輸送架傾斜設置,且紙管輸送架下方出口對接紙管托架,所述紙管托架上方為切割組件,下方為集料桶,所述切割組件具有若幹切刀及各切刀所對應的調節滑軌,所述各調節滑軌一側均設有氣缸,氣缸通過調節滑軌分別驅動對應切刀左右平移。
上述方案中,紙管托架為至少設立於紙管托架兩端的敞口托架組成。
進一步的,紙管輸送架中設有活動擋板,活動擋板由正反電機驅動。
進一步的,各調節滑軌豎直均勻排布於模板上。
進一步的,切刀通過切刀座與對應的調節滑軌連接,對應的氣缸的驅動杆固定連接切刀座的一端,通過推拉位於調節滑軌中切刀座的一端使切刀左右平移。
進一步的,切刀由對應切刀座上設置的電機進行驅動。
本實用新型的有益效果為:
1.係統自動調配,逐個輸送紙管進行改切;
2.精確調整切刀間距,滿足紙管不同尺寸改切的需求;
3.改切後的紙管直接收集,方便轉移;
4.整機體積較小,不占空間,且結構簡單,成本低。
附圖說明:
附圖1為本實用新型的側麵結構示意圖;
附圖2為本實用新型的正麵結構示意圖。
具體實施方式:
請參閱圖1、圖2所示,係為本實用新型之較佳實施例的結構示意圖,本實用新型為一種紙管改切裝置,主要包括紙管輸送架1、紙管托架2及切割組件,所述紙管輸送架1傾斜設置,紙管輸送架1中設有活動擋板11,活動擋板11由正反電機驅動,且紙管輸送架1下方出口對接紙管托架2,可逐一輸送紙管進入紙管托架2中。紙管托架2為至少設立於紙管托架2兩端的敞口托架21組成,優選左、中、右三組托架21均勻間隔分布,主要用於托住紙管,在切割時提供有效支撐。紙管托架2上方為切割組件,下方為集料桶3,完成分切的紙管無法在紙管托架2上保持平衡,則全部落入集料桶3中。
上述切割組件具有若幹切刀41及各切刀41所對應的調節滑軌42,各調節滑軌42豎直均勻排布於模板40上,可有效降低切割組件所占用的空間,相對於水平分布的調節滑軌,無需改變各切刀連接部分的形狀,有效降低成本。其中,各調節滑軌42一側均設有氣缸4,切刀41通過切刀座411與對應的調節滑軌42連接,切刀41由對應切刀座411上設置的電機進行驅動旋轉,對應的氣缸4的驅動杆固定連接切刀座411的一端,通過推拉位於調節滑軌42中切刀座411的一端使切刀左右平移,可精確調節各切刀41的間距,滿足紙管不同尺寸的改切需求。
當然,以上圖示僅為本實用新型較佳實施方式,並非以此限定本實用新型的使用範圍,故,凡是在本實用新型原理上做等效改變均應包含在本實用新型的保護範圍內。
技術特征:
1.一種紙管改切裝置,主要包括紙管輸送架(1)、紙管托架(2)及切割組件,其特征在於:所述紙管輸送架(1)傾斜設置,且紙管輸送架(1)下方出口對接紙管托架(2),所述紙管托架(2)上方為切割組件,下方為集料桶(3),所述切割組件具有若幹切刀(41)及各切刀(41)所對應的調節滑軌(42),所述各調節滑軌(42)一側均設有氣缸(4),氣缸(4)通過調節滑軌(42)分別驅動對應切刀(41)左右平移。
2.根據權利要求1所述的一種紙管改切裝置,其特征在於:所述紙管托架(2)為至少設立於紙管托架(2)兩端的敞口托架(21)組成。
3.根據權利要求1或2所述的一種紙管改切裝置,其特征在於:所述紙管輸送架(1)中設有活動擋板(11),活動擋板(11)由正反電機驅動。
4.根據權利要求1或2所述的一種紙管改切裝置,其特征在於:所述各調節滑軌(42)豎直均勻排布於模板(40)上。
5.根據權利要求4所述的一種紙管改切裝置,其特征在於:所述切刀(41)通過切刀座(411)與對應的調節滑軌(42)連接,對應的氣缸(4)的驅動杆固定連接切刀座(411)的一端,通過推拉位於調節滑軌(42)中切刀座(411)的一端使切刀左右平移。
6.根據權利要求5所述的一種紙管改切裝置,其特征在於:所述切刀(41)由對應切刀座(411)上設置的電機進行驅動。
技術總結
本實用新型提供一種紙管改切裝置,主要包括紙管輸送架、紙管托架及切割組件,所述紙管輸送架傾斜設置,且紙管輸送架下方出口對接紙管托架,所述紙管托架上方為切割組件,下方為集料桶,所述切割組件具有若幹切刀及各切刀所對應的調節滑軌,所述各調節滑軌一側均設有氣缸,氣缸通過調節滑軌分別驅動對應切刀左右平移。本實用新型針對目前現有技術體積大、成本高的缺陷,設計一種適合小批量生產,且同樣具有精確調節紙管改切尺寸的功能,滿足部分企業需求。
技術研發人員:陳來甲
受保護的技術使用者:汕頭冠華薄膜工業有限公司
技術研發日:2018.04.29
技術公布日:2018.12.14