服務熱線
180-5003-0233

本實用新型涉及一種紙管生產加工領域,尤其涉及一種紙管支撐裝置。
背景技術:
現有技術中,紙管生產完成之後,一般情況將紙管套在切管機的軸上,利用切刀進行分切。在切管過程中,切刀會與軸的表麵接觸,造成切刀及軸的磨損,導致維修率高,成本比較高昂。
技術實現要素:
本實用新型目的是提供一種紙管支撐裝置,通過使用該結構,防止切刀的損壞,降低設備維修率,降低成本。
為達到上述目的,本實用新型采用的技術方案是:一種紙管支撐裝置,包括底板及設置於底板上的支撐機構,所述支撐機構包括支架及設置於支架上的兩組支撐輥,兩組所述支撐輥相互平行設置,兩組所述支撐輥轉動安裝於所述支架上,兩組所述支撐輥之間設有支撐間距;所述底板的頂麵上設有滑軌、驅動電機及滾珠絲杆,所述驅動電機安裝於所述滾珠絲杆的一側,所述滾珠絲杆的兩端轉動安裝於所述底板上,所述驅動電機的輸出軸與所述滾珠絲杆的一端相連,所述滾珠絲杆與所述滑軌相互平行設置,所述支撐輥與所述滑軌及滾珠絲杆相互平行設置,所述支架的底部一側滑動設置於所述滑軌上,所述支架的底部另一側與所述滾珠絲杆相連,所述驅動電機輸出軸的轉動經所述滾珠絲杆帶動所述支架在所述滑軌上移動;
所述支架的中部還設有一保護機構,所述保護機構設置於兩組所述支撐輥的正下方;所述保護機構包括立柱、橫板及兩組支撐滾輪,所述立柱的底部垂直安裝於所述支架上,所述橫板的底麵中部與所述立柱的頂部相連,所述橫板垂直設置於兩組所述支撐輥的正下方,兩組所述支撐滾輪分別轉動安裝於所述橫板兩端的頂麵上,兩組所述支撐滾輪的軸線平行於所述支撐輥的軸線設置,每組所述支撐滾輪的外緣麵與對應一組所述支撐輥的外緣麵相接觸。
上述技術方案中,所述支撐輥包括左側支撐輥及右側支撐輥,所述支撐滾輪包括左側支撐滾輪及右側支撐滾輪,所述左側支撐滾輪設置於所述左側支撐輥的左側下方,所述右側支撐滾輪設置於所述右側支撐輥的右側下方,所述左側支撐滾輪的右上方外緣麵與所述左側支撐輥的左下方外緣麵相接觸;所述右側支撐滾輪的左上方外緣麵與所述右側支撐輥的右下方外緣麵相接觸。
上述技術方案中,所述立柱包括固定柱及連接柱,所述固定柱的底部固定安裝於所述支架上,所述連接柱的頂部與所述橫板的底麵中部固定相連;所述固定柱的頂部設有一安裝孔,所述固定柱的上方側壁上設有兩個螺孔,所述螺孔與所述安裝孔相連通,每個所述螺孔內螺接有一鎖緊螺栓,所述連接柱的下方插設於所述安裝孔內,且所述鎖緊螺栓的端部抵於所述連接柱的外緣麵上,所述鎖緊螺栓將所述連接柱與所述固定柱鎖緊固定。
上述技術方案中,所述支架包括滑板及設置於滑板頂部左側及右側的兩組支撐板,所述滑板的底部滑動設置於所述滑軌上,兩組所述支撐輥的兩端分別轉動安裝於兩組所述支撐板的頂部,所述立柱的底部與所述滑板頂麵中部相連。
上述技術方案中,所述滑板的頂麵上還設有一放置槽,所述放置槽設置於所述立柱的後側,所述放置槽內放置有一碎屑接料槽,所述碎屑接料槽設置於所述支撐間距的正下方。
由於上述技術方案運用,本實用新型與現有技術相比具有下列優點:
1.本實用新型中采用兩組支撐輥的設置,能夠將產品放在兩組支撐輥上麵利用兩組支撐輥進行支撐,這樣在對產品裁切的過程中,能夠防止切刀直接與支撐輥接觸,同時,裁切過程中,電機及滾珠絲杆能夠帶動支撐輥移動,便於後續的上料,保證裁切的便利性;
2.本實用新型中采用保護機構的設置,能夠對兩組支撐輥的中部進行支撐保護,防止支撐輥受力而變形,延長使用壽命。
附圖說明
圖1是本實用新型實施例一中的結構示意圖;
圖2是圖1的右視圖;
圖3是本實用新型實施例一中立柱的剖視結構示意圖。
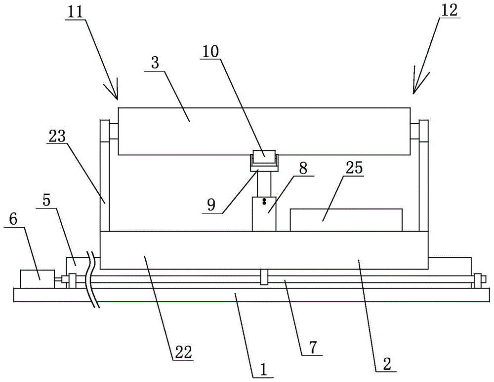
其中:1、底板;2、支架;3、支撐輥;4、支撐間距;5、滑軌;6、驅動電機;7、滾珠絲杆;8、立柱;9、橫板;10、支撐滾輪;11、進料端;12、出料端;13、左側支撐輥;14、右側支撐輥;15、左側支撐滾輪;16、右側支撐滾輪;17、固定柱;18、連接柱;19、安裝孔;20、螺孔;21、鎖緊螺栓;22、滑板;23、支撐板;24、放置槽;25、碎屑接料槽。
具體實施方式
下麵結合附圖及實施例對本實用新型作進一步描述:
實施例一:參見圖1~3所示,一種紙管支撐裝置,包括底板1及設置於底板1上的支撐機構,所述支撐機構包括支架及設置於支架2上的兩組支撐輥3,兩組所述支撐輥相互平行設置,兩組所述支撐輥轉動安裝於所述支架2上,兩組所述支撐輥3之間設有支撐間距4;所述底板1的頂麵上設有滑軌5、驅動電機6及滾珠絲杆7,所述驅動電機安裝於所述滾珠絲杆的一側,所述滾珠絲杆的兩端轉動安裝於所述底板上,所述驅動電機的輸出軸與所述滾珠絲杆的一端相連,所述滾珠絲杆與所述滑軌相互平行設置,所述支撐輥與所述滑軌及滾珠絲杆相互平行設置,所述支架的底部一側滑動設置於所述滑軌上,所述支架的底部另一側與所述滾珠絲杆相連,所述驅動電機輸出軸的轉動經所述滾珠絲杆帶動所述支架在所述滑軌上移動;
所述支架的中部還設有一保護機構,所述保護機構設置於兩組所述支撐輥的正下方;所述保護機構包括立柱8、橫板9及兩組支撐滾輪10,所述立柱的底部垂直安裝於所述支架上,所述橫板的底麵中部與所述立柱的頂部相連,所述橫板垂直設置於兩組所述支撐輥的正下方,兩組所述支撐滾輪分別轉動安裝於所述橫板兩端的頂麵上,兩組所述支撐滾輪的軸線平行於所述支撐輥的軸線設置,每組所述支撐滾輪的外緣麵與對應一組所述支撐輥的外緣麵相接觸。
在本實施例中,在實際使用時,支撐間距的一側為進料端11,另一側為出料端12。紙管會從進料端進入到支撐間距內,利用兩組支撐輥對紙管進行支撐。其中,在支撐間距的上方設置多組圓形切刀,紙管移動到支撐間距上麵之後,轉動的圓形切刀下降,對紙管進行分切。在分切的過程中,由於圓形切刀轉動,會壓住紙管,同時帶動紙管轉動,還會對紙管進行分切,這樣圓形切刀不會與支撐輥接觸就能夠將紙管進行切斷,防止圓形切刀的磨損,延長使用壽命。在分切過程中,驅動電機及滾珠絲杆會帶動支架移動,遠離進料端,這樣在切管的過程中,進料端處可以進行送料,當切管完成之後,圓形切刀上升離開紙管,然後驅動電機及滾珠絲杆帶動支架朝向進料端移動,這樣進料端處的產品就會推動支撐間距上麵的產品朝向出料端移動,自動落料,移動到位之後,圓形切刀下降繼續分切,如此循環,分切效率高,質量好。
在本實施例中,由於支撐輥具有一定的長度,紙管在支撐輥上麵,支撐輥會受到紙管的重力,同時切刀下降切管時候會給予紙管及支撐輥一定的壓力,長時間的話,支撐輥容易受重變形,其中部下垂彎曲。通過保護機構的設置,能夠對兩組支撐輥的中部進行支撐保護,提高支撐輥的抗壓質量,防止支撐輥的變形,延長支撐輥的使用壽命。
參見圖2所示,所述支撐輥包括左側支撐輥13及右側支撐輥14,所述支撐滾輪包括左側支撐滾輪15及右側支撐滾輪16,所述左側支撐滾輪設置於所述左側支撐輥的左側下方,所述右側支撐滾輪設置於所述右側支撐輥的右側下方,所述左側支撐滾輪的右上方外緣麵與所述左側支撐輥的左下方外緣麵相接觸;所述右側支撐滾輪的左上方外緣麵與所述右側支撐輥的右下方外緣麵相接觸。
參見圖1~3所示,所述立柱包括固定柱17及連接柱18,所述固定柱的底部固定安裝於所述支架上,所述連接柱的頂部與所述橫板的底麵中部固定相連;所述固定柱的頂部設有一安裝孔19,所述固定柱的上方側壁上設有兩個螺孔20,所述螺孔與所述安裝孔相連通,每個所述螺孔內螺接有一鎖緊螺栓21,所述連接柱的下方插設於所述安裝孔內,且所述鎖緊螺栓的端部抵於所述連接柱的外緣麵上,所述鎖緊螺栓將所述連接柱與所述固定柱鎖緊固定。
在本實施例中,會根據不同尺寸的紙管,更換不同直徑大小的支撐輥,以保證對紙管的支撐質量,因此,為了保證支撐滾輪能夠對不同尺寸的支撐輥進行支撐,采用連接柱及固定柱的設置,能夠調節支撐滾輪的高度,適用於不同尺寸的支撐輥。
參見圖1、2所示,所述支架包括滑板22及設置於滑板頂部左側及右側的兩組支撐板23,所述滑板的底部滑動設置於所述滑軌上,兩組所述支撐輥的兩端分別轉動安裝於兩組所述支撐板的頂部,所述立柱的底部與所述滑板頂麵中部相連。
所述滑板22的頂麵上還設有一放置槽24,所述放置槽設置於所述立柱的後側,所述放置槽內放置有一碎屑接料槽25,所述碎屑接料槽設置於所述支撐間距的正下方。
在本實施例中,支撐間距的前側為進料端,後側為出料端,圓形切刀會設置在出料端的上方,這樣在對紙管切斷的過程中,會有碎屑的產生,通過碎屑接料槽的設置,便於將碎屑的收集,保護加工環境。
技術特征:
1.一種紙管支撐裝置,其特征在於:包括底板及設置於底板上的支撐機構,所述支撐機構包括支架及設置於支架上的兩組支撐輥,兩組所述支撐輥相互平行設置,兩組所述支撐輥轉動安裝於所述支架上,兩組所述支撐輥之間設有支撐間距;所述底板的頂麵上設有滑軌、驅動電機及滾珠絲杆,所述驅動電機安裝於所述滾珠絲杆的一側,所述滾珠絲杆的兩端轉動安裝於所述底板上,所述驅動電機的輸出軸與所述滾珠絲杆的一端相連,所述滾珠絲杆與所述滑軌相互平行設置,所述支撐輥與所述滑軌及滾珠絲杆相互平行設置,所述支架的底部一側滑動設置於所述滑軌上,所述支架的底部另一側與所述滾珠絲杆相連,所述驅動電機輸出軸的轉動經所述滾珠絲杆帶動所述支架在所述滑軌上移動;
所述支架的中部還設有一保護機構,所述保護機構設置於兩組所述支撐輥的正下方;所述保護機構包括立柱、橫板及兩組支撐滾輪,所述立柱的底部垂直安裝於所述支架上,所述橫板的底麵中部與所述立柱的頂部相連,所述橫板垂直設置於兩組所述支撐輥的正下方,兩組所述支撐滾輪分別轉動安裝於所述橫板兩端的頂麵上,兩組所述支撐滾輪的軸線平行於所述支撐輥的軸線設置,每組所述支撐滾輪的外緣麵與對應一組所述支撐輥的外緣麵相接觸。
2.根據權利要求1所述的紙管支撐裝置,其特征在於:所述支撐輥包括左側支撐輥及右側支撐輥,所述支撐滾輪包括左側支撐滾輪及右側支撐滾輪,所述左側支撐滾輪設置於所述左側支撐輥的左側下方,所述右側支撐滾輪設置於所述右側支撐輥的右側下方,所述左側支撐滾輪的右上方外緣麵與所述左側支撐輥的左下方外緣麵相接觸;所述右側支撐滾輪的左上方外緣麵與所述右側支撐輥的右下方外緣麵相接觸。
3.根據權利要求1所述的紙管支撐裝置,其特征在於:所述立柱包括固定柱及連接柱,所述固定柱的底部固定安裝於所述支架上,所述連接柱的頂部與所述橫板的底麵中部固定相連;所述固定柱的頂部設有一安裝孔,所述固定柱的上方側壁上設有兩個螺孔,所述螺孔與所述安裝孔相連通,每個所述螺孔內螺接有一鎖緊螺栓,所述連接柱的下方插設於所述安裝孔內,且所述鎖緊螺栓的端部抵於所述連接柱的外緣麵上,所述鎖緊螺栓將所述連接柱與所述固定柱鎖緊固定。
4.根據權利要求1所述的紙管支撐裝置,其特征在於:所述支架包括滑板及設置於滑板頂部左側及右側的兩組支撐板,所述滑板的底部滑動設置於所述滑軌上,兩組所述支撐輥的兩端分別轉動安裝於兩組所述支撐板的頂部,所述立柱的底部與所述滑板頂麵中部相連。
5.根據權利要求4所述的紙管支撐裝置,其特征在於:所述滑板的頂麵上還設有一放置槽,所述放置槽設置於所述立柱的後側,所述放置槽內放置有一碎屑接料槽,所述碎屑接料槽設置於所述支撐間距的正下方。
技術總結
本實用新型公開了一種紙管支撐裝置,其特征在於:包括底板及支撐機構,所述支撐機構包括支架及轉動設置於支架上的兩組支撐輥,兩組所述支撐輥之間設有支撐間距;所述底板的頂麵上設有滑軌、驅動電機及滾珠絲杆,所述驅動電機安裝於所述滾珠絲杆的一側,所述滾珠絲杆的兩端轉動安裝於所述底板上,所述驅動電機的輸出軸與所述滾珠絲杆的一端相連,所述滾珠絲杆與所述滑軌相互平行設置,所述支架的底部一側滑動設置於所述滑軌上,所述支架的底部另一側與所述滾珠絲杆相連;所述支架的中部還設有一保護機構,所述保護機構設置於兩組所述支撐輥的正下方。本實用新型提高了支撐質量,降低設備維修率。
技術研發人員:吳建中
受保護的技術使用者:太倉市鑫海紙業有限公司
技術研發日:2019.08.13
技術公布日:2020.05.22