服務熱線
180-5003-0233

1.本實用新型涉及一種傳輸機構,具體是一種紙管花季视频下载黄色的傳輸機構。
背景技術:
2.紙管花季视频下载黄色是紙管加工過程中的常用設備,其通過將紙管固定於定位輥之上,利用切割刀片對其進行分切。隨著社會時代的快速發展,紙管花季视频下载黄色的發展也跟著日新月異,在紙管花季视频下载黄色的工作過程中,其傳輸裝置是非常重要的一部分,傳輸裝置影響著紙管花季视频下载黄色的工作效率,現有技術中的紙管花季视频下载黄色,紙管在傳輸過程采用紙管兩端固定的方式,其加工效率低。在紙管傳輸過程中難以對齊,導致進入花季视频下载黄色時需要裝置將紙管對齊,增加成本。因此,本實用新型提供了一種紙管花季视频下载黄色的傳輸機構,以解決上述背景技術中提出的問題。
技術實現要素:
3.本實用新型的目的在於提供一種紙管花季视频下载黄色的傳輸機構,以解決上述背景技術中提出的問題。
4.為實現上述目的,本實用新型提供如下技術方案:
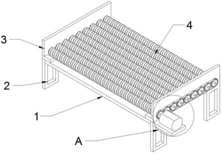
5.一種紙管花季视频下载黄色的傳輸機構,包括傳輸車床、支撐腿、側擋板、螺紋傳輸輥和傳輸分撥器,所述傳輸車床下表麵對稱安裝有支撐腿,傳輸車床上表麵左右對稱安裝側擋板,側擋板之間貫穿有若幹個轉動軸,轉動軸上安裝螺紋傳輸輥;
6.轉動軸的右端安裝有傳動齒輪,傳動齒輪上套有傳動鏈,傳輸車床的一側安裝支撐板,支撐板上設有伺服電機,伺服電機與一個轉動軸驅動連接。
7.作為本實用新型進一步的方案,所述傳輸分撥器安裝於側擋板上,傳輸分撥器由中轉軸、十字支撐架、轉動杆、分撥筒、卡合槽、支撐座、從動齒輪、撥動軸、驅動齒輪和傳動盤組成。
8.作為本實用新型再進一步的方案,所述中轉軸貫穿側擋板,且中轉軸與側擋板轉動連接。
9.作為本實用新型再進一步的方案,所述中轉軸上安裝有若幹個十字支撐架,十字支撐架的前端貫穿有轉動杆,轉動杆上套有分撥筒。
10.作為本實用新型再進一步的方案,所述驅動齒輪固定安裝於轉動軸的一端,支撐座固定安裝於側擋板上。
11.作為本實用新型再進一步的方案,所述支撐座內轉動安裝從動齒輪,從動齒輪與驅動齒輪齧合。
12.作為本實用新型再進一步的方案,所述從動齒輪上安裝有撥動軸,轉動杆的一端安裝有傳動盤,傳動盤開設有四個卡合槽。
13.與現有技術相比,本實用新型的有益效果是:
14.1、本實用新型通過螺紋傳輸輥傳輸紙筒,既起到傳輸的作用又可以使紙管對齊,
減少花季视频下载黄色的工作結構和時間成本,提高分切效率。
15.2、本實用新型設有分撥裝置,在傳輸過程中,根據傳輸速度,等比將紙管逐個分撥至花季视频下载黄色內,提高分切秩序,進一步提高分切效率。
附圖說明
16.圖1為本實用新型的結構示意圖。
17.圖2為本實用新型中圖1的a處放大圖。
18.圖3為本實用新型中傳輸分撥器與側擋板位置關係圖。
19.圖4為本實用新型中傳輸分撥器的結構示意圖。
20.圖5為本實用新型中圖4的b處放大圖。
21.圖中:1、傳輸車床;2、支撐腿;3、側擋板;4、螺紋傳輸輥;5、支撐板;6、伺服電機;7、傳動齒輪;8、轉動軸;9、傳動鏈;10、傳輸分撥器;11、中轉軸;12、十字支撐架;13、轉動杆;14、分撥筒;15、卡合槽;16、支撐座;17、從動齒輪;18、撥動軸;19、驅動齒輪;20、傳動盤。
具體實施方式
22.下麵將結合本實用新型實施例中的附圖,對本實用新型實施例中的技術方案進行清楚、完整地描述,顯然,所描述的實施例僅僅是本實用新型一部分實施例,而不是全部的實施例。基於本實用新型中的實施例,本領域普通技術人員在沒有做出創造性勞動前提下所獲得的所有其他實施例,都屬於本實用新型保護的範圍。
23.實施例一
24.請參閱圖1~2,本實用新型實施例中,一種紙管花季视频下载黄色的傳輸機構,包括傳輸車床1、支撐腿2、側擋板3和螺紋傳輸輥4,所述傳輸車床1下表麵對稱安裝有支撐腿2,支撐腿2下端可以安裝滑動輪,便於傳輸車床1的移動,傳輸車床1上表麵左右對稱安裝側擋板3,側擋板3之間貫穿有若幹個轉動軸8,轉動軸8上安裝螺紋傳輸輥4,轉動軸8轉動時,螺紋傳輸輥4同步轉動,當紙管位於螺紋傳輸輥4上時,螺紋傳輸輥4帶動紙管移動,同時根據螺紋方向將紙管向一側傳輸,使紙管在傳輸過程中向一側對齊;
25.轉動軸8的右端安裝有傳動齒輪7,傳動齒輪7上套有傳動鏈9,傳輸車床1的一側安裝支撐板5,支撐板5上設有伺服電機6,伺服電機6與一個轉動軸8驅動連接,通過伺服電機6的轉動,控製其中一個轉動軸8轉動,再通過傳動鏈9帶動其他轉動軸8轉動,進而使所有螺紋傳輸輥4向同一方向同步轉動,實現對紙管的傳輸。
26.實施例二
27.請參閱圖3~5,本實用新型實施例中,一種紙管花季视频下载黄色的傳輸機構,包括傳輸分撥器10,所述傳輸分撥器10由中轉軸11、十字支撐架12、轉動杆13、分撥筒14、卡合槽15、支撐座16、從動齒輪17、撥動軸18、驅動齒輪19和傳動盤20組成,所述中轉軸11貫穿側擋板3,且中轉軸11與側擋板3轉動連接,中轉軸11上安裝有若幹個十字支撐架12,十字支撐架12的前端貫穿有轉動杆13,轉動杆13上套有分撥筒14,在中轉軸11轉動過程中,通過十字支撐架12和轉動杆13帶動分撥筒14轉動,螺紋傳輸輥4上的紙管依次單個撥出,進入花季视频下载黄色;
28.驅動齒輪19固定安裝於轉動軸8的一端,支撐座16固定安裝於側擋板3上,支撐座16內轉動安裝從動齒輪17,從動齒輪17與驅動齒輪19齧合,從動齒輪17上安裝有撥動軸18,
轉動杆13的一端安裝有傳動盤20,傳動盤20開設有四個卡合槽15,從動齒輪17轉動一周,撥動軸18經過傳動盤20時與卡合槽15卡合,帶動傳動盤20轉動九十度,傳動盤20帶動轉動杆13轉動九十度,完成一次紙管的傳輸分撥。
29.以上所述,僅為本實用新型較佳的具體實施方式,但本實用新型的保護範圍並不局限於此,任何熟悉本技術領域的技術人員在本實用新型揭露的技術範圍內,根據本實用新型的技術方案及其實用新型構思加以等同替換或改變,都應涵蓋在本實用新型的保護範圍之內。
技術特征:
1.一種紙管花季视频下载黄色的傳輸機構,包括傳輸車床(1)、支撐腿(2)、側擋板(3)、螺紋傳輸輥(4)和傳輸分撥器(10),其特征在於,所述傳輸車床(1)下表麵對稱安裝有支撐腿(2),傳輸車床(1)上表麵左右對稱安裝側擋板(3),側擋板(3)之間貫穿有若幹個轉動軸(8),轉動軸(8)上安裝螺紋傳輸輥(4);轉動軸(8)的右端安裝有傳動齒輪(7),傳動齒輪(7)上套有傳動鏈(9),傳輸車床(1)的一側安裝支撐板(5),支撐板(5)上設有伺服電機(6),伺服電機(6)與一個轉動軸(8)驅動連接。2.根據權利要求1所述的一種紙管花季视频下载黄色的傳輸機構,其特征在於,所述傳輸分撥器(10)安裝於側擋板(3)上,傳輸分撥器(10)由中轉軸(11)、十字支撐架(12)、轉動杆(13)、分撥筒(14)、卡合槽(15)、支撐座(16)、從動齒輪(17)、撥動軸(18)、驅動齒輪(19)和傳動盤(20)組成。3.根據權利要求2所述的一種紙管花季视频下载黄色的傳輸機構,其特征在於,所述中轉軸(11)貫穿側擋板(3),且中轉軸(11)與側擋板(3)轉動連接。4.根據權利要求2所述的一種紙管花季视频下载黄色的傳輸機構,其特征在於,所述中轉軸(11)上安裝有若幹個十字支撐架(12),十字支撐架(12)的前端貫穿有轉動杆(13),轉動杆(13)上套有分撥筒(14)。5.根據權利要求2所述的一種紙管花季视频下载黄色的傳輸機構,其特征在於,所述驅動齒輪(19)固定安裝於轉動軸(8)的一端,支撐座(16)固定安裝於側擋板(3)上。6.根據權利要求2所述的一種紙管花季视频下载黄色的傳輸機構,其特征在於,所述支撐座(16)內轉動安裝從動齒輪(17),從動齒輪(17)與驅動齒輪(19)齧合。7.根據權利要求2所述的一種紙管花季视频下载黄色的傳輸機構,其特征在於,所述從動齒輪(17)上安裝有撥動軸(18),轉動杆(13)的一端安裝有傳動盤(20),傳動盤(20)開設有四個卡合槽(15)。
技術總結
本實用新型公開了一種紙管花季视频下载黄色的傳輸機構,包括傳輸車床、支撐腿、側擋板、螺紋傳輸輥和傳輸分撥器,所述傳輸車床下表麵對稱安裝有支撐腿,傳輸車床上表麵左右對稱安裝側擋板,側擋板之間貫穿有若幹個轉動軸,轉動軸上安裝螺紋傳輸輥,轉動軸的右端安裝有傳動齒輪,傳動齒輪上套有傳動鏈,傳輸車床的一側安裝支撐板,支撐板上設有伺服電機,伺服電機與一個轉動軸驅動連接。本實用新型通過螺紋傳輸輥傳輸紙筒,既起到傳輸的作用又可以使紙管對齊,減少花季视频下载黄色的工作結構和時間成本,提高分切效率,本實用新型設有分撥裝置,在傳輸過程中,根據傳輸速度,等比將紙管逐個分撥至花季视频下载黄色內,提高分切秩序,進一步提高分切效率。進一步提高分切效率。進一步提高分切效率。
技術研發人員:高怡晟
受保護的技術使用者:杭州金毅紙業有限公司
技術研發日:2021.09.27
技術公布日:2022/2/7