服務熱線
180-5003-0233

本實用新型涉及bopp生產設備技術領域,尤其是涉及一種bopp花季视频下载黄色除靜電裝置。
背景技術:
bopp薄膜是一種非常重要的軟包裝花季黄大片大全,無色、無嗅、無味、無毒,具有高拉伸強度、高衝擊強度、剛性、強韌性和良好的透明性。由於其表麵能低,經電暈處理後,具有良好的印刷適應性,可以套色印刷而得到精美的外觀效果,因而常用作複合薄膜的麵層花季黄大片大全。
由於bopp薄膜是極性的電絕緣花季黄大片大全,因而在其分切過程中,由於摩擦、剪切等作用產生的電荷無法傳走,從而在膜體表麵積累形成靜電。現有bopp花季视频下载黄色中雖設有除靜電裝置,但由於其設置位置不合理,導致製卷後膜體表麵的靜電水平仍較高,從而影響成品膜後續的開卷、印刷等使用。
技術實現要素:
針對上述情況,為克服現有技術的缺陷,本實用新型提供一種bopp花季视频下载黄色除靜電裝置,解決了現有bopp花季视频下载黄色製卷後,膜間仍存在靜電而影響成品膜使用的技術問題。
為實現上述目的,本實用新型提供如下技術方案:
bopp花季视频下载黄色除靜電裝置,包括:固定架,對稱設置、固定於bopp花季视频下载黄色機床兩側;定向框,活動固定於固定架底部;離子風棒,活動固定於定向框中;除靜電毛刷,活動固定於定向框中;其中,定向框套裝於bopp花季视频下载黄色導向輥外側,以固定架底部連線為中軸轉動;離子風棒和除靜電毛刷均平行於導向輥輥軸,除靜電毛刷底部刷毛與導向輥外壁相接觸。
通過固定架在現有bopp花季视频下载黄色製卷前最末端的導向輥處增設除靜電裝置,以輔助bopp花季视频下载黄色內原有除靜電裝置,顯著降低成卷前bopp膜體表麵靜電水平。固定架底部連接有可轉動的、套裝於導向輥外側的定向框,增設的除靜電裝置活動固定於該定向框中。定向框可根據導向輥出膜方向調整角度,從而使增設的除靜電裝置充分作用於bopp膜體。
進一步地,固定架包括至少兩根由可固定的鉸接結構連接的杆體。通過可固定的鉸接結構改變並保持固定架的構型,使其適用於多種bopp花季视频下载黄色機床、且為定向框提供適合的轉動位點。
進一步地,定向框包括:轉動杆,對稱設置於導向輥兩端外側、與固定架底部通過可固定的鉸接結構連接;調節杆,兩端通過可固定滑動結構與轉動杆連接;其中,調節杆沿轉動杆間滑動,控製兩調節杆的間距;轉動杆以固定架底部連線為軸線,帶動調節杆旋轉。
進一步地,離子風棒固定於調節杆處。離子風棒可跟隨調節杆沿轉動杆滑動,以便根據導向輥工作情況調整至合適工作位點。
進一步地,除靜電毛刷兩端通過可固定滑動結構與轉動杆連接。除靜電毛刷可沿轉動杆滑動,以便根據導向輥外徑進行調整,使其刷毛與導向輥外壁接觸。
進一步地,離子風棒和除靜電毛刷的長度不小於導向輥的長度。保證離子風棒和除靜電毛刷充分作用於整個bopp膜體,達到去除靜電的效果。
進一步地,轉動杆外壁處標有刻度。便於調節杆和除靜電毛刷的位置調整,並使上述兩者始終保持與輥軸的平行關係。
本實用新型通過固定架在現有bopp花季视频下载黄色製卷前最末端的導向輥處增設除靜電裝置,以輔助bopp花季视频下载黄色內原有除靜電裝置,顯著降低成卷前bopp膜體表麵靜電水平。固定架底部連接有可轉動的、套裝於導向輥外側的定向框,增設的除靜電裝置活動固定於該定向框中。定向框可根據導向輥出膜方向調整角度,從而使增設的除靜電裝置充分作用於bopp膜體。
附圖說明
為了更清楚地說明本申請實施例技術方案,下麵將對實施例描述中所需要使用的附圖作簡單地介紹,顯而易見地,下麵描述中的附圖僅僅是本申請的一些實施例,對於本領域普通技術人員來講,在不付出創造性勞動的前提下,還可以根據這些附圖獲得其他的附圖。
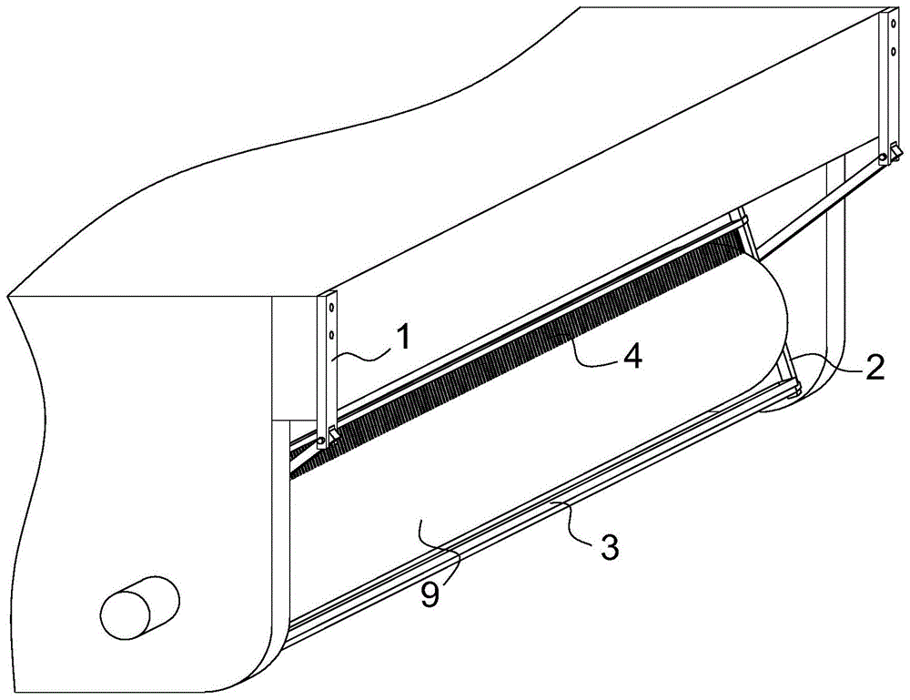
圖1為本實用新型申請一實施例中的應用結構示意圖。
圖2為本實用新型申請一實施例中固定架的結構示意圖。
圖3為本實用新型申請一實施例中定向框處的結構示意圖。
圖4為本實用新型申請一實施例中除靜電毛刷與轉動杆的連接結構示意圖。
附圖標記:1.固定架,2.定向框,21.轉動杆,22.調節杆,3.離子風棒,4.除靜電毛刷,9.bopp花季视频下载黄色最末端導向輥。
具體實施方式
在下文中,僅簡單地描述了某些示例性實施例。正如本領域技術人員可認識到的那樣,在不脫離本實用新型申請實施例的精神或範圍的情況下,可通過各種不同方式修改所描述的實施例。因此,附圖和描述被認為本質上是示例性的而非限製性的。
在本實用新型申請實施例的描述中,需要理解的是,術語“長度”、“上”、“下”、“左”、“右”、“頂”、“底”、“內”、“外”等指示的方位或位置關係為基於附圖所示的方位或位置關係,僅是為了便於描述本實用新型申請實施例和簡化描述,而不是指示或暗示所指的裝置或元件必須具有特定的方位、以特定的方位構造和操作,因此不能理解為對本實用新型申請實施例的限製。
在本實用新型申請實施例中,除非另有明確的規定和限定,術語“安裝”、“相連”、“連接”、“固定”等術語應做廣義理解,例如,可以是固定連接,也可以是可拆卸連接,或成一體;可以是機械連接,也可以是電連接,還可以是通信;可以是直接相連,也可以通過中間媒介間接相連,可以是兩個元件內部的連通或兩個元件的相互作用關係。對於本領域的普通技術人員而言,可以根據具體情況理解上述術語在本實用新型申請實施例中的具體含義。
在本實用新型申請實施例中,除非另有明確的規定和限定,第一特征在第二特征之“上”或之“下”可以包括第一和第二特征直接接觸,也可以包括第一和第二特征不是直接接觸而是通過它們之間的另外的特征接觸。而且,第一特征在第二特征“之上”、“上方”和“上麵”包括第一特征在第二特征正上方和斜上方,或僅僅表示第一特征水平高度高於第二特征。第一特征在第二特征“之下”、“下方”和“下麵”包括第一特征在第二特征正上方和斜上方,或僅僅表示第一特征水平高度小於第二特征。
下文的公開提供了許多不同的實施方式或例子用來實現本實用新型申請實施例的不同結構。為了簡化本實用新型申請實施例的公開,下文中對特定例子的部件和設置進行描述。當然,它們僅僅為示例,並且目的不在於限製本實用新型申請實施例。此外,本實用新型申請實施例可以在不同例子中重複參考數字和/或參考字母,這種重複是為了簡化和清楚的目的,其本身不指示所討論各種實施方式和/或設置之間的關係。
下麵結合附圖對本實用新型的實施例進行詳細說明。
實施例
如圖1所示,本實用新型申請實施例提供了一種bopp花季视频下载黄色除靜電裝置,其包括:固定架1、定向框2、離子風棒3和除靜電毛刷4。其中,定向框2套裝於bopp花季视频下载黄色導向輥9外側,以固定架1底部連線為中軸轉動;離子風棒3和除靜電毛刷4均平行於導向輥9的輥軸,除靜電毛刷4底部刷毛與導向輥9外壁相接觸。
如圖2所示,本實施例中,固定架1由2根通過可固定的鉸接結構(如采用螺栓作為鉸接軸,通過螺母緊固固定)連接的杆體構成,頂部杆體固定於bopp花季视频下载黄色末端導向輥9所處機床頂壁處,底部杆體設置於導向輥兩側、且其底部與導向輥輥軸相接近。
如圖3所示,本實施例中,定向框2的轉動杆21通過可固定的鉸接結構5活動固定於固定架1底部杆體的底部,使定向框2的調節杆22平行懸設於導向輥9的外側。調節杆22內側固定有離子風棒3。
根據導向輥9對bopp膜的導向,通過轉動杆21的旋轉調整調節杆22的位置;根據導向輥9的外徑,通過可固定的滑動結構(如帶有緊固螺釘的套筒),調整調節杆22帶動離子風棒3至與導向輥9保持合適的距離。
如圖4所示,除靜電毛刷4兩端通過可固定的滑動結構與轉動杆21連接,以便根據導向輥9的外徑調整其位置,使除靜電毛刷4底部刷毛與導向輥9外壁接觸,即在製卷過程中,與bopp膜體直接接觸。
調節杆22和除靜電毛刷4的調整均需於兩端進行,可參照轉動杆21處的刻度進行,以便使調節後的調節杆22和除靜電毛刷4,仍能與導向輥9保持平行。
技術特征:
1.bopp花季视频下载黄色除靜電裝置,其特征在於,包括:
固定架,對稱設置、固定於bopp花季视频下载黄色機床兩側;
定向框,活動固定於固定架底部;
離子風棒,活動固定於定向框中;
除靜電毛刷,活動固定於定向框中;
其中,定向框套裝於bopp花季视频下载黄色導向輥外側,以固定架底部連線為中軸轉動;離子風棒和除靜電毛刷均平行於導向輥輥軸,除靜電毛刷底部刷毛與導向輥外壁相接觸。
2.根據權利要求1所述的除靜電裝置,其特征在於,固定架包括至少兩根由可固定的鉸接結構連接的杆體。
3.根據權利要求1所述的除靜電裝置,其特征在於,定向框包括:
轉動杆,對稱設置於導向輥兩端外側、與固定架底部通過可固定的鉸接結構連接;
調節杆,兩端通過可固定滑動結構與轉動杆連接;
其中,調節杆沿轉動杆間滑動,控製兩調節杆的間距;轉動杆以固定架底部連線為軸線,帶動調節杆旋轉。
4.根據權利要求3所述的除靜電裝置,其特征在於,離子風棒固定於調節杆處。
5.根據權利要求3所述的除靜電裝置,其特征在於,除靜電毛刷兩端通過可固定滑動結構與轉動杆連接。
6.根據權利要求1所述的除靜電裝置,其特征在於,離子風棒和除靜電毛刷的長度不小於導向輥的長度。
7.根據權利要求1所述的除靜電裝置,其特征在於,轉動杆外壁處標有刻度。
技術總結
本實用新型提供了一種BOPP花季视频下载黄色除靜電裝置,目的是解決現有BOPP花季视频下载黄色製卷後,膜間仍存在靜電而影響成品膜使用的技術問題。該除靜電裝置包括固定架、定向框、離子風棒和除靜電毛刷。固定架定位定向框,離子風棒和除靜電毛刷均平行於導向輥輥軸,除靜電毛刷底部刷毛與導向輥外壁相接觸。本實用新型通過固定架在現有BOPP花季视频下载黄色製卷前最末端的導向輥處增設除靜電裝置,輔助BOPP花季视频下载黄色內原有除靜電裝置,顯著降低成卷前BOPP膜體表麵靜電水平。固定架底部連接有可轉動的、套裝於導向輥外側的定向框,增設的除靜電裝置活動固定於該定向框中。定向框可根據導向輥出膜方向調整角度,從而使增設的除靜電裝置充分作用於BOPP膜體。
技術研發人員:易強;鄧從軍;方斌;謝偉
受保護的技術使用者:紅塔塑膠(成都)有限公司
技術研發日:2019.08.29
技術公布日:2020.06.19